¿Qué es un brazo hidráulico y para qué sirve ?
Un brazo hidráulico consiste en un brazo de carga y descarga para la industria cárnica que se utiliza para la carga de canales en mataderos y salas de despiece. Está diseñado y construido para facilitar el manejo (carga y descarga) de carne sacrificada (medias canales y canales de bovinos o cerdos, jamones, etc….) desde la vía aérea del muelle de expedición hasta el camión y viceversa.
Características del brazo hidráulico
- Material constructivo: acero inoxidable.
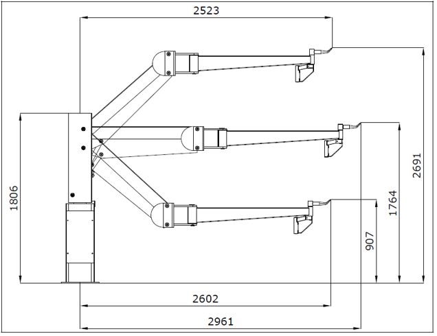
- Elevación máxima gancho: 2.680 mm.
- Elevación mínima gancho: 820 mm.
- Carrera útil: 1.860 mm.
- Rotación frontal brazo: 260º.
- Cabeza de rotación: 320º.
- Rotación global útil: 350º.
- Velocidad de subida y bajada del gancho: 0,3 m/s.
- Capacidad útil (carga máxima): 300 Kg.
- Peso: 310 Kg.
- Tensión: 380 V trifásico.
- Consumo: 2,5 KW.
- Presión hidráulica: 218 bar.

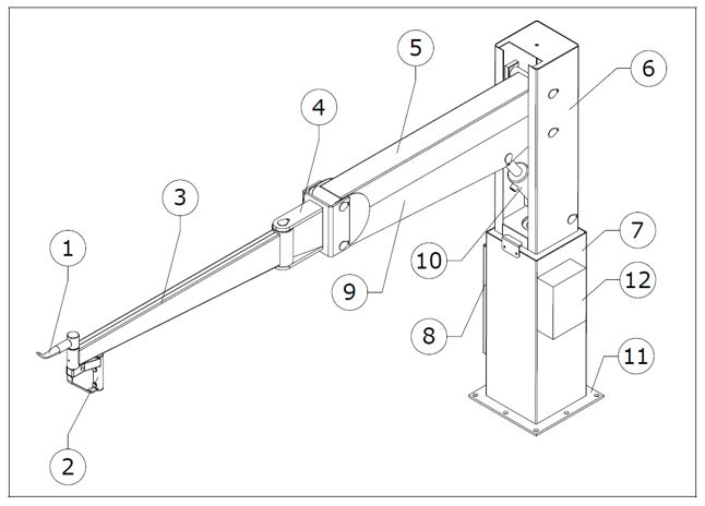
Partes de un brazo hidráulico
- Gancho.
- Mango con los botones de comando.
- Brazo giratorio.
- Articulación central.
- Brazo primario.
- Columna giratoria.
- Marco en el que se encuentra el depósito de aceite hidráulico.
- Panel de alimentación eléctrico.
- Brazo secundario.
- Cilindro hidráulico.
- Placa de fijación al suelo.
- Panel eléctrico.
¿Cómo funciona un brazo hidráulico?
La fijación del brazo hidráulico se realiza mediante una placa-base con anclajes de apoyo que debe ser empotrada y anclada firmemente en el piso del muelle.
Cuando la máquina se apaga durante el día, es necesario sustituir correctamente el brazo insertándolo en el pivote especial situado en la parte inferior de la estructura. Esta operación debe realizarse pulsando el botón durante un largo período de tiempo, de esta manera el brazo queda bloqueado en una posición segura.
Antes de empezar
Antes de conectar el enchufe de alimentación a la máquina se debe hacer lo siguiente:
- Verificar el correcto funcionamiento del dispositivo de protección diferencial.
- Comprobar la conexión a tierra.
- Verificar el correcto apriete de los terminales.
Antes de operar el motor para cargar, hay que recoger y dejar vaciar el brazo por lo menos un par de veces en una fila, para expulsar todo el aire que puede haber entrado en el sistema hidráulico durante el tránsito.

Mantenimiento de un brazo hidráulico
El mantenimiento debe ser preventivo y programado, actividades vistas como un requisito fundamental para la seguridad, con la suposición de que la máquina está sujeta al desgaste que es causa potencial de fallas.
Por lo tanto, la seguridad de la máquina también depende de un buen mantenimiento preventivo que permite la sustitución de piezas desgastadas antes de la ocurrencia de averías.
Es importante recordar que antes de realizar cualquier mantenimiento/limpieza hay que quitar la corriente de la máquina girando el interruptor general situado en el panel eléctrico a la posición off. Evita hacer cambios, transformaciones o aplicaciones en la máquina que puedan afectar a la seguridad sin haber obtenido previamente la autorización del fabricante puesto que se trata de una máquina que trata productos alimentarios. Los mantenimientos deben realizarse por personal cualificado.
Sistema hidráulico
Revisa periódicamente el nivel de aceite en el depósito a través de la tapa transparente colocada en la columna. Cuando se cambie el aceite, es necesario descargar el resto mediante la toma ubicada en la parte inferior de la columna. Para extraer el aceite hay que quitar la carcasa frontal, desenroscar el cilindro y eliminar las correas de amortiguación que se encuentran a la izquierda de la unidad hidráulica.
Para más información entra en: https://www.tiendabernad.com/?s=BRAZO&post_type=product&lang=es
O al siguiente enlace: http://www.josebernad.com